Tweetovi
- Tweetovi, trenutna stranica.
- Tweetovi i odgovori
- Medijski sadržaj
Blokirali ste korisnika/cu @tanmay_singal
Jeste li sigurni da želite vidjeti te tweetove? Time nećete deblokirati korisnika/cu @tanmay_singal
-
She's not a troll, is she?https://twitter.com/TitaniaMcGrath/status/1223700129024073728 …
Hvala. Twitter će to iskoristiti za poboljšanje vaše vremenske crte. PoništiPoništi -
See this Instagram photo by
@natgeo https://www.instagram.com/p/B8ECfpKnvrG/?utm_source=ig_web_button_share_sheet …Hvala. Twitter će to iskoristiti za poboljšanje vaše vremenske crte. PoništiPoništi -
Tanmay Singal proslijedio/la je Tweet
Invisible things are the only realities.
pic.twitter.com/xlXpE6KIb1Hvala. Twitter će to iskoristiti za poboljšanje vaše vremenske crte. PoništiPoništi -
Tanmay Singal proslijedio/la je Tweet
Amazing technology how to change the train track
pic.twitter.com/DPII3PomSWHvala. Twitter će to iskoristiti za poboljšanje vaše vremenske crte. PoništiPoništi -
Tanmay Singal proslijedio/la je Tweet
Yes exactly like the Islamists who claim that constant repetition of hateful Jihadi slogans never inspired anyone to become a terrorist. Can't wait to see where this goes.
Hvala. Twitter će to iskoristiti za poboljšanje vaše vremenske crte. PoništiPoništi -
Tanmay Singal proslijedio/la je Tweet
What a despicable low life this poor excuse of a human is. Heartless and unprincipled to the extreme. Remember folks like this will never bear the brunt of any of the venom they're spewing. Cowards. https://twitter.com/republic/status/1222909480968441857 …pic.twitter.com/f7FxabO1l4
Hvala. Twitter će to iskoristiti za poboljšanje vaše vremenske crte. PoništiPoništi -
Tanmay Singal proslijedio/la je TweetHvala. Twitter će to iskoristiti za poboljšanje vaše vremenske crte. PoništiPoništi
-
Tanmay Singal proslijedio/la je Tweet
I am against CAA but the days of “Modi will have to report back to EU in six weeks” are long gone. I might be repeating this for the 100th time— solutions to India’s problems lie in India, no point finding it elsewhere.https://twitter.com/aakar__patel/status/1222746831014129664 …
Prikaži ovu nitHvala. Twitter će to iskoristiti za poboljšanje vaše vremenske crte. PoništiPoništi -
Tanmay Singal proslijedio/la je Tweet
Stunning view of the Indus River Delta near the India/Pakistan border. Beautiful fluvial drainage systems and landforms
#geomorphology#geology#AlwaysAWindowSeatpic.twitter.com/b0pqUW6zx7
Prikaži ovu nitHvala. Twitter će to iskoristiti za poboljšanje vaše vremenske crte. PoništiPoništi -
Tanmay Singal proslijedio/la je Tweet
Instead of taking advantage of all the amazing Indian doctors and medical professional’s advice, the Government of India goes with...homeopathy. This explains a lot, like the economy.https://twitter.com/PIB_India/status/1222385553892528128 …
Hvala. Twitter će to iskoristiti za poboljšanje vaše vremenske crte. PoništiPoništi -
Tanmay Singal proslijedio/la je Tweet
Using
@ncaer@ihdscorner data@SonaldeDesai suggests that the "#Indian#Growth story in recent years may have lost some of its shine but has not collapsed altogether" (with caveats). The devil is in the details.https://www.livemint.com/news/india/consumption-spending-may-not-have-fallen-in-india-new-survey-11580102985802.html …Prikaži ovu nitHvala. Twitter će to iskoristiti za poboljšanje vaše vremenske crte. PoništiPoništi -
Hvala. Twitter će to iskoristiti za poboljšanje vaše vremenske crte. PoništiPoništi
-
Tanmay Singal proslijedio/la je Tweet
"Sales have plunged more than 80% over the past eight months. We open the shop and wait but there are no customers. I have been working since I turned 16 and have never seen this extent of slowdown. It's just too scary," a Mumbai shopkeeper. Scary indeed.https://www.channelnewsasia.com/news/asia/india-economy-budget-2020-unemployment-12364368 …
Hvala. Twitter će to iskoristiti za poboljšanje vaše vremenske crte. PoništiPoništi -
Tanmay Singal proslijedio/la je Tweet
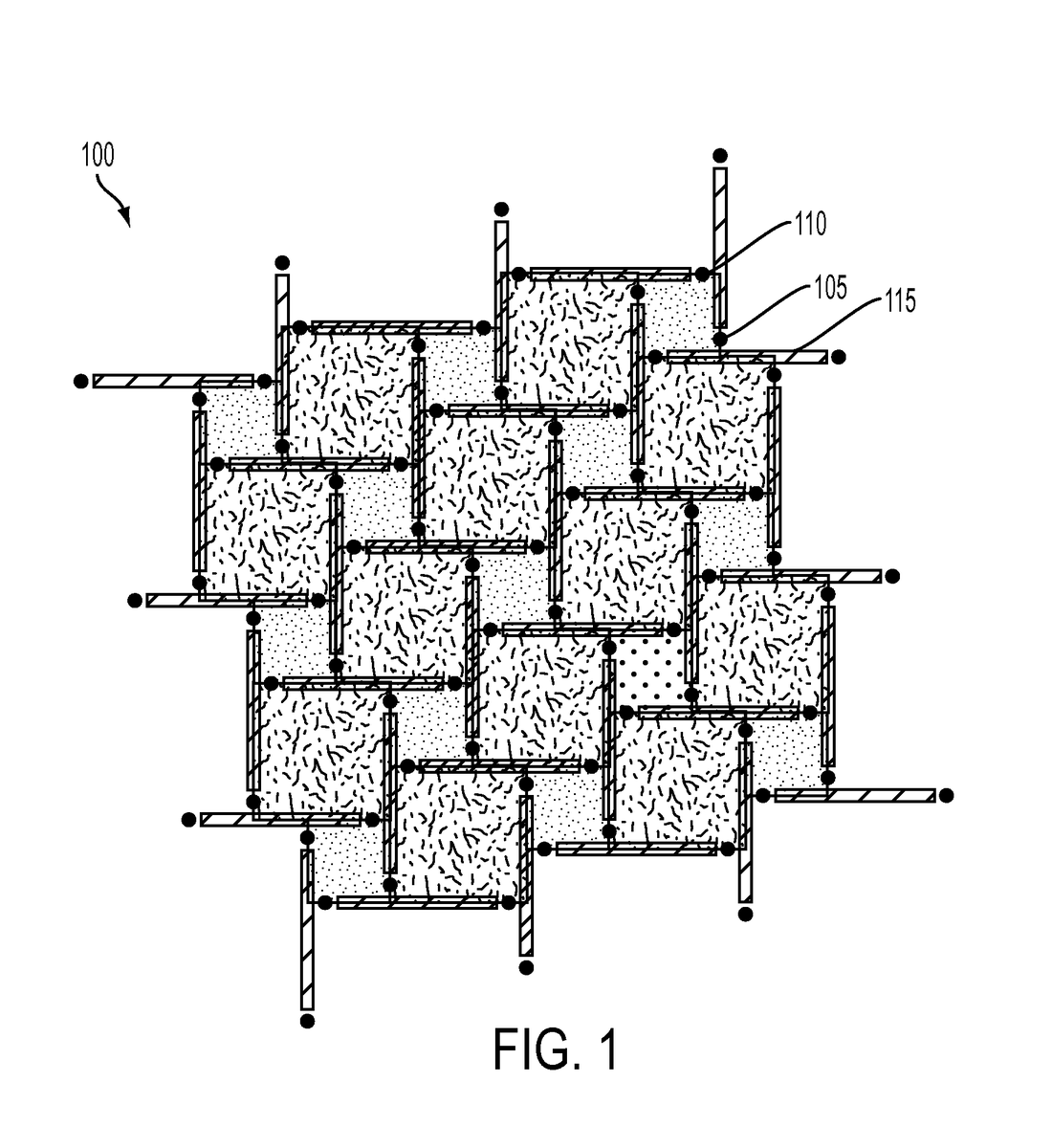
Coincidentally, the windmill tiling is also how
@IBM plans to arrange qubits and superconducting resonators to implement the surface code: https://arxiv.org/abs/1311.6330 This skew-square lattice was proposed by DiVincenzo: https://arxiv.org/abs/0905.4839 Patent: https://patents.google.com/patent/US9111230B2/en … https://twitter.com/nechita_ion/status/1222453832661327873 …pic.twitter.com/6xspnNavWF
Hvala. Twitter će to iskoristiti za poboljšanje vaše vremenske crte. PoništiPoništi -
Tanmay Singal proslijedio/la je Tweet
Maggi, fridge, clothes, mobile data, booze — how nothing is selling in slowdown-hit rural UP... In ThePrint series
#RuralIndiaInCrisis, Sanya Dhingra@DhingraSanya brings you this ground report from the state, with pictures by@PraveenJain2622http://bit.ly/2Rz8eRCHvala. Twitter će to iskoristiti za poboljšanje vaše vremenske crte. PoništiPoništi -
Tanmay Singal proslijedio/la je Tweet
Perhaps. Either way, Indian interests are being damaged. Only Modi or Shah can stop this damage and both are not doing anything about it.
Hvala. Twitter će to iskoristiti za poboljšanje vaše vremenske crte. PoništiPoništi -
Tanmay Singal proslijedio/la je Tweet
I don’t know if it only ego problem, or whether ambiguity on this is actually beneficial for them politically- I think it is the latter- cynical calculation rather than ego. And that’s a pity for India.
Hvala. Twitter će to iskoristiti za poboljšanje vaše vremenske crte. PoništiPoništi -
Tanmay Singal proslijedio/la je Tweet
Agree. A simple announcement by the PM/HM that NRC will not be implemented can help immensely. Indian diplomats are wasting their time on these issues when so much else is to be done. But national interests are being harmed because Modi and Shah have huge ego problem.https://twitter.com/akshayalladi/status/1221985345958367232 …
Hvala. Twitter će to iskoristiti za poboljšanje vaše vremenske crte. PoništiPoništi -
Tanmay Singal proslijedio/la je Tweet
Yup, I’ve been talking about human & economic costs of NRC. Another point to ponder is about NRIs who send billions of dollars to India. They will have to come to India to prove their citizenship. Also OCIs will have to prove that their parents grandparents were Indians.https://twitter.com/d_extrovert/status/1221982660920102913 …
Hvala. Twitter će to iskoristiti za poboljšanje vaše vremenske crte. PoništiPoništi
Čini se da učitavanje traje već neko vrijeme.
Twitter je možda preopterećen ili ima kratkotrajnih poteškoća u radu. Pokušajte ponovno ili potražite dodatne informacije u odjeljku Status Twittera.
