Skip to content
  • Home Home Home, current page.
  • Moments Moments Moments, current page.

Saved searches

  • Remove
  • In this conversation
    Verified accountProtected Tweets @
Suggested users
  • Verified accountProtected Tweets @
  • Verified accountProtected Tweets @
  • Language: English
    • Bahasa Indonesia
    • Bahasa Melayu
    • Català
    • Čeština
    • Dansk
    • Deutsch
    • English UK
    • Español
    • Filipino
    • Français
    • Hrvatski
    • Italiano
    • Magyar
    • Nederlands
    • Norsk
    • Polski
    • Português
    • Română
    • Slovenčina
    • Suomi
    • Svenska
    • Tiếng Việt
    • Türkçe
    • Ελληνικά
    • Български език
    • Русский
    • Српски
    • Українська мова
    • עִבְרִית
    • العربية
    • فارسی
    • मराठी
    • हिन्दी
    • বাংলা
    • ગુજરાતી
    • தமிழ்
    • ಕನ್ನಡ
    • ภาษาไทย
    • 한국어
    • 日本語
    • 简体中文
    • 繁體中文
  • Have an account? Log in
    Have an account?
    · Forgot password?

    New to Twitter?
    Sign up
liji32's profile
Lior Halphon
Lior Halphon
Lior Halphon
@liji32

Tweets

Lior Halphon

@liji32

I fiddle with macOS, iOS, and Nintendo consoles. I made SameBoy, MIP, GBVideoPlayer, DiskPie, and various Nintendo ROM hacks. http://sameboy.github.io 

Israel
github.com/LIJI32
Joined April 2016

Tweets

  • © 2020 Twitter
  • About
  • Help Center
  • Terms
  • Privacy policy
  • Cookies
  • Ads info
Dismiss
Previous
Next

Go to a person's profile

Saved searches

  • Remove
  • In this conversation
    Verified accountProtected Tweets @
Suggested users
  • Verified accountProtected Tweets @
  • Verified accountProtected Tweets @

Promote this Tweet

Block

  • Tweet with a location

    You can add location information to your Tweets, such as your city or precise location, from the web and via third-party applications. You always have the option to delete your Tweet location history. Learn more

    Your lists

    Create a new list


    Under 100 characters, optional

    Privacy

    Copy link to Tweet

    Embed this Tweet

    Embed this Video

    Add this Tweet to your website by copying the code below. Learn more

    Add this video to your website by copying the code below. Learn more

    Hmm, there was a problem reaching the server.

    By embedding Twitter content in your website or app, you are agreeing to the Twitter Developer Agreement and Developer Policy.

    Preview

    Why you're seeing this ad

    Log in to Twitter

    · Forgot password?
    Don't have an account? Sign up »

    Sign up for Twitter

    Not on Twitter? Sign up, tune into the things you care about, and get updates as they happen.

    Sign up
    Have an account? Log in »

    Two-way (sending and receiving) short codes:

    Country Code For customers of
    United States 40404 (any)
    Canada 21212 (any)
    United Kingdom 86444 Vodafone, Orange, 3, O2
    Brazil 40404 Nextel, TIM
    Haiti 40404 Digicel, Voila
    Ireland 51210 Vodafone, O2
    India 53000 Bharti Airtel, Videocon, Reliance
    Indonesia 89887 AXIS, 3, Telkomsel, Indosat, XL Axiata
    Italy 4880804 Wind
    3424486444 Vodafone
    » See SMS short codes for other countries

    Confirmation

     

    Welcome home!

    This timeline is where you’ll spend most of your time, getting instant updates about what matters to you.

    Tweets not working for you?

    Hover over the profile pic and click the Following button to unfollow any account.

    Say a lot with a little

    When you see a Tweet you love, tap the heart — it lets the person who wrote it know you shared the love.

    Spread the word

    The fastest way to share someone else’s Tweet with your followers is with a Retweet. Tap the icon to send it instantly.

    Join the conversation

    Add your thoughts about any Tweet with a Reply. Find a topic you’re passionate about, and jump right in.

    Learn the latest

    Get instant insight into what people are talking about now.

    Get more of what you love

    Follow more accounts to get instant updates about topics you care about.

    Find what's happening

    See the latest conversations about any topic instantly.

    Never miss a Moment

    Catch up instantly on the best stories happening as they unfold.

    Lior Halphon‏ @liji32 Jul 25

    Following yesterday leak I discovered the remains of an abandoned Game Boy Color feature that was previously mentioned in Nintendo's patents, but never actually seen on neither hardware or promotional info – a built-in in-game Palette Selection Mode for DMG games! (1/many)

    6:17 AM - 25 Jul 2020
    • 23 Retweets
    • 86 Likes
    • JollyKingTutt ctrl.alt.rees Agi 👨‍💻 🇺🇸🇮🇹 Andrew Dent Arisotura Leopoldo Pla Paul ArcadeTV KashCash #FreeMelee #SaveSmash
    1 reply 23 retweets 86 likes
      1. New conversation
      2. Lior Halphon‏ @liji32 Jul 25

        This feature worked using two undocumented registers: PSM (Palette Selection Mode; 0xFF71) and PSW (Palette Selection Window; 0xFF74). PSM is only accessible while the boot ROM is mapped and has two R/W bits (0 and 7) that are used to enable this feature.

        1 reply 1 retweet 11 likes
        Show this thread
      3. Lior Halphon‏ @liji32 Jul 25

        The final CGB boot ROM does not write to PSM, making the hardware side of that feature completely inaccessible without glitching. PSW has 8 R/W bits that decide which button combo triggers this mode. It's also accessible during CGB mode, but it's useless without a PSM write.

        1 reply 1 retweet 10 likes
        Show this thread
      4. Lior Halphon‏ @liji32 Jul 25

        The original boot ROM would enable PSM and set a button combo at PSW for (all? some?) DMG games. When a Vblank occurs, the current button combo is compared to PSW, and if so, it triggers an NMI (Who knew the Game Boy had those!) that jumps to 0x80 and remaps the boot ROM.

        1 reply 1 retweet 7 likes
        Show this thread
      5. Lior Halphon‏ @liji32 Jul 25

        On (publicly unavailable) prototype boot ROMs that had PSM support, 0x80 jumped to 0x200 (The second boot ROM "blob") and handled the PSM, using the WRAM and VRAM banks inaccessible to DMG games, while pausing the game. The user can then change the palettes and resume when done.

        1 reply 1 retweet 6 likes
        Show this thread
      6. Lior Halphon‏ @liji32 Jul 25

        It was confirmed by @mcurrie, using clock glitching, that all hardware functionality indeed works as described, although on "production" Game Boys with the final boot ROMs the jump 0x80 NMI jumps to a seemingly random part of the boot sequence.

        1 reply 1 retweet 7 likes
        Show this thread
      7. Lior Halphon‏ @liji32 Jul 25

        The remaining undocumented registers, FF72, FF73 and maybe FF75 as well are probably meant to be used by the PSM code, but they (Together with the two unofficially-named PCMxx registers) remain unnamed. Added bonus: a screenshot of the prototype PSM, from the leaked docs.pic.twitter.com/n06Z8awHK7

        1 reply 1 retweet 20 likes
        Show this thread
      8. Lior Halphon‏ @liji32 Jul 25

        Eventually, PSM was completely replaced by two features: The final boot ROM allows allows the user to select a palette for DMG games out of 12 options using a key combo, and also applies game-specific palettes for 1st party games by their title checksum.

        1 reply 1 retweet 8 likes
        Show this thread
      9. Lior Halphon‏ @liji32 Jul 25

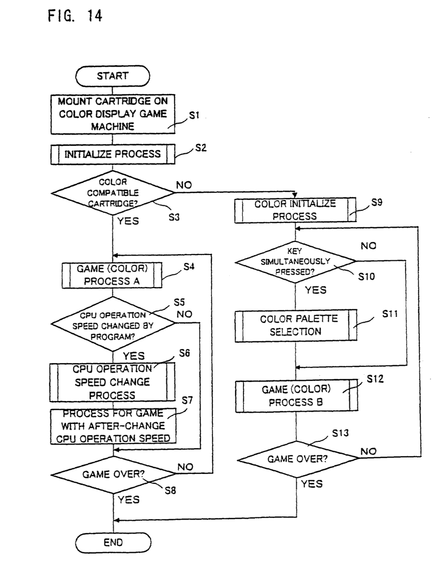
        This feature is also described in a Nintendo patent: https://patents.google.com/patent/US7137894B2/ …pic.twitter.com/uvtVMIIknb

        0 replies 1 retweet 4 likes
        Show this thread
      10. End of conversation

    Loading seems to be taking a while.

    Twitter may be over capacity or experiencing a momentary hiccup. Try again or visit Twitter Status for more information.

      Promoted Tweet

      false

      • © 2020 Twitter
      • About
      • Help Center
      • Terms
      • Privacy policy
      • Cookies
      • Ads info