-
Oggi il ricercatore di sicurezza "Gal Weizman" ha annunciato di aver scoperto una vulnerabilità sull’app "WhatsApp" per Mac, fortunatamente risolta con l'ultimo aggiornamento software.
#Apple#GalWeizman#App#AppStore#WhatsApp#Mac#AppleBlog#AppleNews -
Con l'ultimo aggiornamento dell'app "Google Traduttore" per iOS è stato introdotto il supporto alla Dark Mode di iOS 13.
#Apple#App#AppStore#Google#GoogleTraduttore#DarkMode#iOS#iOS13#AppleBlog#AppleNews -
Come riportato da "Reuters", il CEO della società di sviluppo "Mobicip" è stato interrogato da un investigatore Statunitense in relazione alle interazioni della sua azienda con Apple.
#Apple#Reuters#SurenRamasubbu#Mobicip#AppleBlog#AppleNews -
Come annunciato negli scorsi mesi, dal 1 Febbraio 2020 l'app di messaggistica "WhatsApp" non funziona più sugli iPhone con a bordo iOS 8 o versioni precedenti.
#Apple#App#AppStore#WhatsApp#iPhone#iOS#iOS8#AppleBlog#AppleNews -
Come riportato da"Check Point Research", recentemente è stata scoperta una nuova vulnerabilità di sicurezza nelle luci smart "Philips Hue", compatibili con HomeKit di Apple.
#Apple#CheckPointResearch#Philips#PhilipsHue#HomeKit#AppleBlog#AppleNews -
Secondo quanto riportato da "Bloomberg", il principale fornitore di Apple "Foxconn" ha tagliato le previsioni di crescita per il 2020 dal 5% all'1-3% a causa dell'epidemia del Coronavirus in Cina.
#Apple#Bloomberg#Foxconn#Coronavirus#AppleBlog#AppleNews -
Oggi "Genius" ha annunciato che i nuovi episodi della serie TV "Verified" saranno disponibili in esclusiva solo su Apple Music.
#Apple#Genius#Verified#AppleMusic#AppleBlog#AppleNews pic.twitter.com/oBNiv58yT5Ovo je potencijalno osjetljiv multimedijski sadržaj. Saznajte više
-
Oggi Apple ha annunciato di aver posticipato la nuova sfida attività per Apple Watch a causa dell'epidemia del Coronavirus in Cina.
#Apple#AppleWatch#Coronavirus#AppleBlog#AppleNews -
Oggi "PCMag", nel suo test, ha sottolineato che il Pro Display XDR di Apple è un monitor meno costoso e di qualità superiore rispetto alla concorrenza.
#Apple#PCMag#ProDisplayXDR#Mac#MacPro#AppleBlog#AppleNews -
Oggi "Matt Birchler" ha pubblicato un nuovo concept dove vengono immaginate le funzioni presenti su WatchOS 7.
#Apple#MattBirchler#AppleWatch#WatchOS#WatchOS7#AppleBlog#AppleNews pic.twitter.com/KmIR5sSvreOvo je potencijalno osjetljiv multimedijski sadržaj. Saznajte više
-
Oggi Apple ha pubblicato, sul suo canale YouTube, un nuovo video per promuovere la serie TV "Little America", disponibile sul servizio "Apple TV+".
#Apple#YouTube#LittleAmerica#AppleTVPlus#AppleBlog#AppleNews pic.twitter.com/4bDD3NtV3sOvo je potencijalno osjetljiv multimedijski sadržaj. Saznajte više
-
Secondo il laboratorio "RF Exposure Lab" ha affermato che l'iPhone 11 Pro emette radiazioni RF due volte superiori ai limiti di legge imposti dalla FCC.
#Apple#RFExposureLab#iPhone#iPhone11#iPhone11Pro#iPhone11ProMax#RF#FCC#AppleBlog#AppleNews -
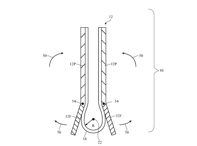
Oggi Apple ha registrato un nuovo brevetto dove viene mostrato un modo per ridurre al minimo la piaga nel display nella zona dove gli schermi vengono piegati.
#Apple#iPhone#AppleBlog#AppleNews pic.twitter.com/gh4mHSMTslOvo je potencijalno osjetljiv multimedijski sadržaj. Saznajte više
-
Secondo un nuovo report di "Goldman Sachs", le principali aziende tecnologiche come Apple, Amazon, Facebook, Microsoft e Google rappresentano il 18% dell’indice Standard & Poor 500.
#Apple#GoldmanSachs#Amazon#Facebook#Microsoft#Google#StandardPoor500#AppleBlog#AppleNews -
Oggi LG ha annunciato che entro fine anno anche gli Smart TV del 2018 riceveranno l'aggiornamento che integra l'app "Apple TV".
#Apple#LG#SmartTV#App#AppleTV#AppleTVPlus#AppleBlog#AppleNews -
Secondo quanto riportato da "Reuters", il principale fornitore di Apple "Foxconn" rischia una chiusura prolungata degli stabilimenti, oltre il 10 Febbraio 2020, a causa dell'epidemia del Coronavirus in Cina.
#Apple#Reuters#Foxconn#Coronavirus#AppleBlog#AppleNews -
Oggi i funzionari di 137 Governi hanno annunciato l'avvio dei lavori sulla nuova norma fiscale internazionale per il pagamento delle tasse da parte dei giganti delle tecnologia, compresa Apple.
#Apple#AppleBlog#AppleNews -
Come riportato da "Variety", sul servizio "Apple TV+" arriverà presto una serie TV con protagonista "Cecily Strong".
#Apple#Variety#AppleTVPlus#CecilyStrong#AppleBlog#AppleNews -
Oggi è stato annunciato che l'attrice "Rose Byrne" sarà protagonista della serie TV drammatica "Physical".
#Apple#RoseByrne#Physical#AppleTVPlus#AppleBlog#AppleNews -
Oggi l'azienda di accessori di lusso "Caviar" ha presentato una cover per iPhone 11 Pro ispirata al nuovo Cybertruck di Tesla.
#Apple#Caviar#Cover#Cyberphone#iPhone#iPhone11#iPhone11Pro#iPhone11ProMax#Cybertruck#Tesla#AppleBlog#AppleNews pic.twitter.com/XTSWBgHOcEOvo je potencijalno osjetljiv multimedijski sadržaj. Saznajte više
Čini se da učitavanje traje već neko vrijeme.
Twitter je možda preopterećen ili ima kratkotrajnih poteškoća u radu. Pokušajte ponovno ili potražite dodatne informacije u odjeljku Status Twittera.