Tweets
- Tweets, current page.
- Tweets & replies
- Media
You blocked @dankrutka
Are you sure you want to view these Tweets? Viewing Tweets won't unblock @dankrutka
-
Pinned Tweet
hi, friends. ive missed collaborating w/, & learning from, fellow educators during the pandemic.
@42ThinkDeep & i started@VisionsOfEd back up, but i decided to experiment w/ livestreaming PD conversations on YouTube too. you can subscribe for updates: https://www.youtube.com/c/DanKrutka /1pic.twitter.com/UNnDN1Rbkx
Show this threadThanks. Twitter will use this to make your timeline better. UndoUndo -
Pedagogues Tekhnoethicasaurus Retweeted
The efficacy endpoint for these trials has been "any symptomatic disease"—even sniffles, headache, fever. That's what the 95% refers to, not "less severe hospitalization & death" which, in the trials (all the trials) have been reduced by 100%. Transmission, is another thing.
Show this threadThanks. Twitter will use this to make your timeline better. UndoUndo -
Thanks. Twitter will use this to make your timeline better. UndoUndo
-
Amazon is literally a Black Mirror episodehttps://twitter.com/athenaforall/status/1359161429950165001 …
Thanks. Twitter will use this to make your timeline better. UndoUndo -
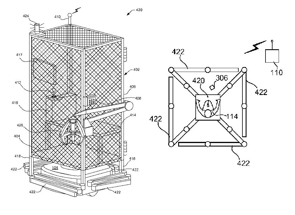
Pedagogues Tekhnoethicasaurus Retweeted
This human cage is an actual patent by Amazon for workers.pic.twitter.com/N01SaCXOTc
Show this threadThanks. Twitter will use this to make your timeline better. UndoUndo -
Pedagogues Tekhnoethicasaurus Retweeted
Between 1936 and 1938, the federal government collected the narratives of over 2,300 formerly enslaved people. I tracked down the descendants of people who were interviewed and wrote about what these stories mean to them, and what they mean to our country.https://www.theatlantic.com/magazine/archive/2021/03/federal-writers-project/617790/ …
Show this threadThanks. Twitter will use this to make your timeline better. UndoUndo -
Pedagogues Tekhnoethicasaurus Retweeted
I started a substack not too long ago. Here's my latest on the ambiguities of "algorithmic audits" -https://parity.substack.com/p/the-devil-is-in-the-details?r=cbt4c&utm_campaign=post&utm_medium=web&utm_source=twitter …
Thanks. Twitter will use this to make your timeline better. UndoUndo -
Pedagogues Tekhnoethicasaurus Retweeted
Mil gracias a
@ericbybee, Haydeé Rodríguez y Luís Urrieta for the collaboration. Lo disfruté mucho. “Era como si esas casas no encajaban con la comunidad”: Caminatas with Futurxs Maestrxs Bilingües in a Gentrifying Latinx Communityhttps://www.tandfonline.com/eprint/WSAZJPBWYRRYJEZCKEYJ/full?target=10.1080%2F15348458.2021.1864207#.YCLRlA_d8jg.twitter …Thanks. Twitter will use this to make your timeline better. UndoUndo -
Pedagogues Tekhnoethicasaurus Retweeted
I'm a fan of the
@ikmultimedia iRig HD 2 microphone https://www.ikmultimedia.com/products/irigmichd2/ … It needs some updates but my best podcasting resources (especially for the classroom / for teachers) are on: http://showwithmedia.com/radio-show/#create2learn#edtechThanks. Twitter will use this to make your timeline better. UndoUndo -
A friend asked for my podcasting advice so I figured I might as well share it here. What am I missing? What advice do other podcasters or listeners have?pic.twitter.com/q1HgSqgPf7
Thanks. Twitter will use this to make your timeline better. UndoUndo -
Pedagogues Tekhnoethicasaurus Retweeted
Guys, something weird happened in Tulsa today. I am seriously so confused and I need some answers. For context, it did not snow in Tulsa today.
#glitchinthematrixpic.twitter.com/JwPMZcg5R2Show this threadThanks. Twitter will use this to make your timeline better. UndoUndo -
Pedagogues Tekhnoethicasaurus Retweeted
Don't miss your chance to join author
@poetweatherford on Feb. 11th, 1pm CST as she discusses her new#picturebook UNSPEAKABLE! Hosted by@PoliticsProse.#Unspeakable#history#justice Reserve your tickets here: https://okt.to/9hqou5 pic.twitter.com/9EEcG7ak86
Thanks. Twitter will use this to make your timeline better. UndoUndo -
Pedagogues Tekhnoethicasaurus Retweeted
Come join us this Saturday for our 1st BHM event with
@spatricejones. Register in advance for this meeting: https://umsystem.zoom.us/meeting/register/tJ0vceCsrT4qEtOSrvNP6SRLZJykieabbHKs … After registering, you will receive a confirmation email containing information about joining the meeting.pic.twitter.com/yAkWFGtN9a
Thanks. Twitter will use this to make your timeline better. UndoUndo -
"For bus-dependent riders who do not have the necessary technology or skills, it may present a barrier to critical transportation needs."https://twitter.com/bikedenton/status/1358921050948444161 …
Thanks. Twitter will use this to make your timeline better. UndoUndo -
To complicate U.S. "democracy," I've recently used this breakdown: - 1789-1964: Restrictive (mostly White, male) democracy - 1964-present: Multicultural democracy (ongoing fight against oppression) And I teach the Reconstruction Amendments as a "second founding."
#sschatShow this threadThanks. Twitter will use this to make your timeline better. UndoUndo -
A5: Unfortunately, the 1776 Commission actually reads like a lot of school US History textbooks, which is why there was a need for curricular work like the 1619 Project.
#sschatThanks. Twitter will use this to make your timeline better. UndoUndo -
A4: The US has never had a fully inclusive multicultural democracy; Institutions have always been inequitable. As
@AriBerman has pointed out, state legislatures are currently trying to rig the next election with hundreds of voter suppression laws.#sschathttps://twitter.com/kennethcdavis/status/1358935556848308226 …Show this threadThanks. Twitter will use this to make your timeline better. UndoUndo -
A3: they may not care about beltway politics, but my elementary teacher candidates are concerned w/ issues pertaining to justice/fairness, which is great because kids are too! approaching politics from a justice perspective can be less partisan than party politics.
#sschatThanks. Twitter will use this to make your timeline better. UndoUndo -
Yes! Too often a principal says "no politics" and some teachers accept it, but
#sschat educators know better than anyone that power to make is often taken. It's really important teachers collectively demand their right to address civics in all social studies classrooms!#sschathttps://twitter.com/kwillmann/status/1358932142332416001 …Thanks. Twitter will use this to make your timeline better. UndoUndo -
Hi! Dan joining late. A1: I have heard from way too many teachers that their school districts are either limiting political content or banning it. If we can't use classrooms to discuss political issues then we might as well shut schools down. What purpose do they serve?
#sschatThanks. Twitter will use this to make your timeline better. UndoUndo -
Pedagogues Tekhnoethicasaurus Retweeted
NEW POD: Episode 154: Black Historical Consciousness with
@DrLaGarrettKing: https://visionsofed.com/2021/02/08/episode-154-black-historical-consciousness-with-lagarrett-king/ … Dr. King shares his new framework from his@NCSSPubs article, discusses#BlackHistoryMonth
, & much more!
#sschatpic.twitter.com/i9Iucth5cx
Show this threadThanks. Twitter will use this to make your timeline better. UndoUndo
Loading seems to be taking a while.
Twitter may be over capacity or experiencing a momentary hiccup. Try again or visit Twitter Status for more information.

