In this article, I dissect the "synthesized reality" term by as described in its patent applications.
linkedin.com/pulse/synthesi
Cæsar
@cesarberardini
Metaverse debunker implementing industrial AR HMDs since 2015. Opinions expressed are my own and don't express the views of my employers nor partners.
13ᵗʰ floor @ MeatspaceJoined December 2010
Cæsar’s Tweets
The average consumer is not a techie like you and I. For those who use the word iPhone instead of smartphone or iPad instead of tablet, A.R. will be the initials for Apple Reality...and then the metaverse buzzword will become meaningless.
2
9
46
Dynamic Island and Stage Manager are just a warm-up for what is coming to your field of view...
1
8
34
This is a typical feature Apple debuts and you say "why no one else ever thought about this?"
1
9
Now, this is a feature you expect from . Custom spatial audio by 3D scanning your ears. anticipated this feature long ago.
1
5
24
Jony Ive's ausence is being noticed. This thing is so ugly.
1
1
1
Topics to follow
Sign up to get Tweets about the Topics you follow in your Home timeline.
Carousel
Ultimately, won't push for a #metaverse, but a better universe. This will be a philosophical watershed between Apple and Meta (who killed the Oculus VR brand and is launching its first mixed reality device in October) Apple didn't join the The Metaverse Standards Forum...
2
4
Show this thread
...and talking about synthesized reality concept:
Quote Tweet
Replying to @benz145
Synthesized Reality. Apple will go with that and describe it as "magical."
1
2
Show this thread
I've been calling Reality to the upcoming mixed reality headset 🥽from Apple since January. Now, trademark filings suggest is indeed securing ‘Reality’ names for its forthcoming headset:
bloomberg.com/news/articles/
Quote Tweet
...Apple could call its first headset the “Apple Reality” and then name the glasses the “Apple Reality Glasses.”
Show this thread
2
1
7
Show this thread
TSMC's 3nm semiconductor manufacturing process, known as N3, begins mass production next month. The the Reality 🥽was never delayed, it was waiting for this technology milestone to happen.
4
5
17
EXPECTATION | REALITY
The Metaverse they promise you, the one you get 👇
1
1
20
Billions spent in its #metaverse endeavor and this is the best can do in terms of 3D, avatars, and immersive worlds. 🤦🏾♂️
4
1
15
It's beginning to look like already has in mind the replacements for MacBooks, iPhones, and Watches. Of course, the headset, smartglasses, and ring will take over when the company thinks it is the right time to do so avoiding cannibalization between the devices.
3
8
29
(7/7)
You can check this newly granted patent here:
uspto.report/patent/grant/1
and you can see the previous Apple ring invention I reported here:
Quote Tweet
@Apple keeps working on a ring as an input device, with the latest patent application adding pressure-sensitive mechanisms within the ring to detect pressure on its band to generate inputs that can then be wirelessly transmitted to "companion devices" (meaning upcoming HMDs).
Show this thread
1
Show this thread
(6/7)
The amount of inventions related to the use of a ring as an input device makes it unlikely this new wearable from the Apple Watch maker won't make it to the market. The only doubt is if this smart ring will launch along with the 🥽, or with the 👓or sometime in between.
2
1
4
Show this thread
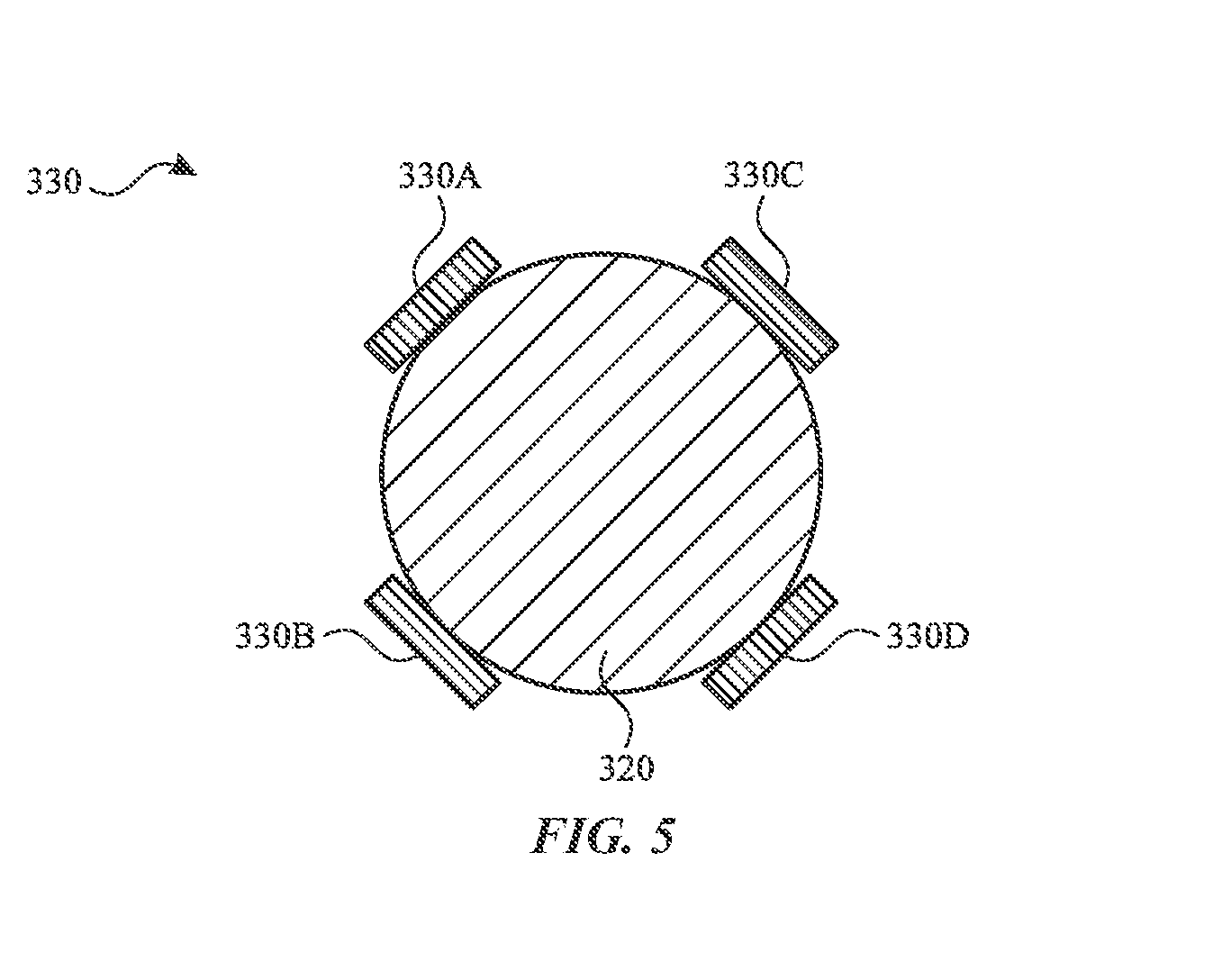
an SMI-based tracking method can reject ambient light (e.g. sunlight) and track motion with 6DOF without a need for a supplemental sensor to determine the distance to a surface. An SMI-based input system can also be used in a dark room.
(5/7)
1
1
3
Show this thread
With 1 SMI sensor, a single axis movement can be tracked. With 2 SMI sensors, a plane can be tracked. With 3 or more SMI sensors, movements in x, y, and z axis can be tracked. 6DOF requires 3 or more SMI sensors. SMI has many advantages over traditional optical tracking:
(4/7)
1
1
1
Show this thread
In this invention, the sensors are configured so they self-mix the generated and reflected/backscattered electromagnetic radiation within the resonant cavity, and produce an output indicative of the self-mixing; hence the self-mixing interferometry name.
(3/7)
1
2
Show this thread
Self-Mixing Interferometry (SMI) sensors generate electromagnetic radiation, in this patent from a resonant cavity, and receive a reflection or backscatter of the EM radiation from a surface back into the resonant cavity
(2/7)
1
3
Show this thread
The has granted a patent for gesture inputed system that uses SMI sensors, showing the company keeps improving its ring device (twitter.com/cesarberardini). So, what is a SMI sensor?
🧵
(1/7)
Quote Tweet
@Apple keeps working on a ring as an input device, with the latest patent application adding pressure-sensitive mechanisms within the ring to detect pressure on its band to generate inputs that can then be wirelessly transmitted to "companion devices" (meaning upcoming HMDs).
Show this thread
1
2
5
Show this thread
New image revealing the design and some specs of 's soon-to-be-announced LEGION VR700 AIO VR headset:
1
3
The State of iOS 16.
71
533
7,005
According to ’s , could be developing a kitchen accessory that combines an iPad with a HomePod speaker. Please, make it look like the iMac G4 🙏🏾
2
3
I've seen a comparison between the TIME Magazine covers from the July 25, 1994 issue about the Internet and this month's cover about the Metaverse, but there's a fundamental flaw in that reasoning...by 1994, Internet already existed. 🤷🏾♂️
2
4
16
We need cash, lot of cash 'cause this metaverse thing is not happening anytime soon.
2
2
The Twitter for Mac app started randomly crashing at launch for some users (including me). A re-install from the App Store worked, for those dealing with the issue.
21
22
194
Today, has been granted a patent for a head-mountable version of its Digital Crown to provide inputs and facilitate user interaction with the forthcoming Reality 🥽 👓. Read all about it here: uspto.report/patent/grant/1
2
4
25




