Skip to content
  • Home Home Home, current page.
  • Moments Moments Moments, current page.

Saved searches

  • Remove
  • In this conversation
    Verified accountProtected Tweets @
Suggested users
  • Verified accountProtected Tweets @
  • Verified accountProtected Tweets @
  • Language: English
    • Bahasa Indonesia
    • Bahasa Melayu
    • Català
    • Čeština
    • Dansk
    • Deutsch
    • English UK
    • Español
    • Filipino
    • Français
    • Hrvatski
    • Italiano
    • Magyar
    • Nederlands
    • Norsk
    • Polski
    • Português
    • Română
    • Slovenčina
    • Suomi
    • Svenska
    • Tiếng Việt
    • Türkçe
    • Ελληνικά
    • Български език
    • Русский
    • Српски
    • Українська мова
    • עִבְרִית
    • العربية
    • فارسی
    • मराठी
    • हिन्दी
    • বাংলা
    • ગુજરાતી
    • தமிழ்
    • ಕನ್ನಡ
    • ภาษาไทย
    • 한국어
    • 日本語
    • 简体中文
    • 繁體中文
  • Have an account? Log in
    Have an account?
    · Forgot password?

    New to Twitter?
    Sign up
ToiletGuru's profile
Bob Cromwell
Bob Cromwell
Bob Cromwell
@ToiletGuru

Tweets

Bob Cromwell

@ToiletGuru

The Indiana Jones and Ansel Adams of toilets. Plus, non-plumbing travel stories and pictures, Linux, cybersecurity, networking, and more.

cromwell-intl.com/travel/
Joined October 2013

Tweets

  • © 2021 Twitter
  • About
  • Help Center
  • Terms
  • Privacy policy
  • Cookies
  • Ads info
Dismiss
Previous
Next

Go to a person's profile

Saved searches

  • Remove
  • In this conversation
    Verified accountProtected Tweets @
Suggested users
  • Verified accountProtected Tweets @
  • Verified accountProtected Tweets @

Promote this Tweet

Block

  • Tweet with a location

    You can add location information to your Tweets, such as your city or precise location, from the web and via third-party applications. You always have the option to delete your Tweet location history. Learn more

    Your lists

    Create a new list


    Under 100 characters, optional

    Privacy

    Copy link to Tweet

    Embed this Tweet

    Embed this Video

    Add this Tweet to your website by copying the code below. Learn more

    Add this video to your website by copying the code below. Learn more

    Hmm, there was a problem reaching the server.

    By embedding Twitter content in your website or app, you are agreeing to the Twitter Developer Agreement and Developer Policy.

    Preview

    Why you're seeing this ad

    Log in to Twitter

    · Forgot password?
    Don't have an account? Sign up »

    Sign up for Twitter

    Not on Twitter? Sign up, tune into the things you care about, and get updates as they happen.

    Sign up
    Have an account? Log in »

    Two-way (sending and receiving) short codes:

    Country Code For customers of
    United States 40404 (any)
    Canada 21212 (any)
    United Kingdom 86444 Vodafone, Orange, 3, O2
    Brazil 40404 Nextel, TIM
    Haiti 40404 Digicel, Voila
    Ireland 51210 Vodafone, O2
    India 53000 Bharti Airtel, Videocon, Reliance
    Indonesia 89887 AXIS, 3, Telkomsel, Indosat, XL Axiata
    Italy 4880804 Wind
    3424486444 Vodafone
    » See SMS short codes for other countries

    Confirmation

     

    Welcome home!

    This timeline is where you’ll spend most of your time, getting instant updates about what matters to you.

    Tweets not working for you?

    Hover over the profile pic and click the Following button to unfollow any account.

    Say a lot with a little

    When you see a Tweet you love, tap the heart — it lets the person who wrote it know you shared the love.

    Spread the word

    The fastest way to share someone else’s Tweet with your followers is with a Retweet. Tap the icon to send it instantly.

    Join the conversation

    Add your thoughts about any Tweet with a Reply. Find a topic you’re passionate about, and jump right in.

    Learn the latest

    Get instant insight into what people are talking about now.

    Get more of what you love

    Follow more accounts to get instant updates about topics you care about.

    Find what's happening

    See the latest conversations about any topic instantly.

    Never miss a Moment

    Catch up instantly on the best stories happening as they unfold.

    Bob Cromwell‏ @ToiletGuru 22 Jun 2017

    Bob Cromwell Retweeted CNET

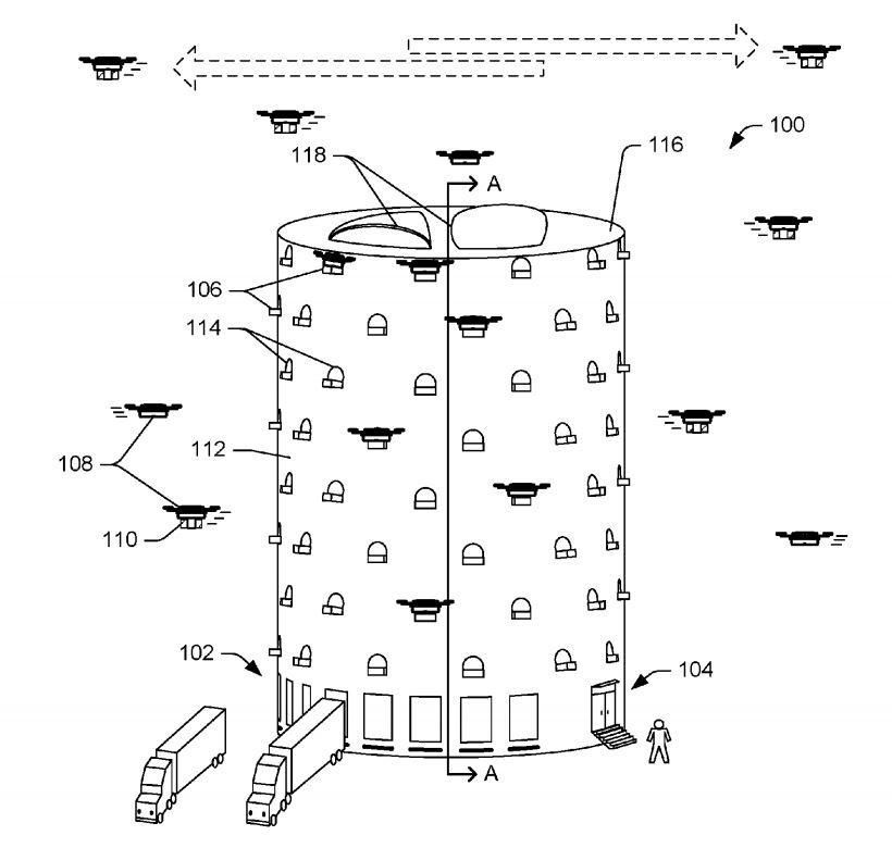
    #Amazon had me at "giant drone towers"https://twitter.com/CNET/status/878047705691430912 …

    Bob Cromwell added,

    CNETVerified account @CNET
    #Amazon envisions giant drone towers in your city to speed up delivery http://cnet.co/2sHiR76  pic.twitter.com/6DjmpIFOuQ
    5:58 PM - 22 Jun 2017
    0 replies 0 retweets 0 likes

    Loading seems to be taking a while.

    Twitter may be over capacity or experiencing a momentary hiccup. Try again or visit Twitter Status for more information.

      Promoted Tweet

      false

      • © 2021 Twitter
      • About
      • Help Center
      • Terms
      • Privacy policy
      • Cookies
      • Ads info