Preskoči na sadržaj
Korištenjem servisa na Twitteru pristajete na korištenje kolačića. Twitter i partneri rade globalno te koriste kolačiće za analize, personalizaciju i oglase.

Za najbolje sučelje na Twitteru koristite Microsoft Edge ili instalirajte aplikaciju Twitter iz trgovine Microsoft Store.

  • Naslovnica Naslovnica Naslovnica, trenutna stranica.
  • O Twitteru

Spremljena pretraživanja

  • obriši
  • U ovom razgovoru
    Ovjeren akauntZaštićeni tweetovi @
Predloženi korisnici
  • Ovjeren akauntZaštićeni tweetovi @
  • Ovjeren akauntZaštićeni tweetovi @
  • Jezik: Hrvatski
    • Bahasa Indonesia
    • Bahasa Melayu
    • Català
    • Čeština
    • Dansk
    • Deutsch
    • English
    • English UK
    • Español
    • Filipino
    • Français
    • Italiano
    • Magyar
    • Nederlands
    • Norsk
    • Polski
    • Português
    • Română
    • Slovenčina
    • Suomi
    • Svenska
    • Tiếng Việt
    • Türkçe
    • Български език
    • Русский
    • Српски
    • Українська мова
    • Ελληνικά
    • עִבְרִית
    • العربية
    • فارسی
    • मराठी
    • हिन्दी
    • বাংলা
    • ગુજરાતી
    • தமிழ்
    • ಕನ್ನಡ
    • ภาษาไทย
    • 한국어
    • 日本語
    • 简体中文
    • 繁體中文
  • Imate račun? Prijava
    Imate račun?
    · Zaboravili ste lozinku?

    Novi ste na Twitteru?
    Registrirajte se
Profil korisnika/ce EsotericExposal
Esoteric Exposal
Esoteric Exposal
Esoteric Exposal
@EsotericExposal

Tweets

Esoteric Exposal

@EsotericExposal

The truth behind the occult, symbolism, secret societies, our false reality. Exposing the Satanic Elite. As an Amazon Associate I earn from qualifying purchases

Kingdom of God
redbubble.com/people/Esoteri…
Vrijeme pridruživanja: listopad 2014.

Tweets

  • © 2020 Twitter
  • O Twitteru
  • Centar za pomoć
  • Uvjeti
  • Pravila o privatnosti
  • Imprint
  • Kolačići
  • Informacije o oglasima
Odbaci
Prethodni
Sljedeće

Idite na profil osobe

Spremljena pretraživanja

  • obriši
  • U ovom razgovoru
    Ovjeren akauntZaštićeni tweetovi @
Predloženi korisnici
  • Ovjeren akauntZaštićeni tweetovi @
  • Ovjeren akauntZaštićeni tweetovi @

Odjava

Blokiraj

  • Objavi Tweet s lokacijom

    U tweetove putem weba ili aplikacija drugih proizvođača možete dodati podatke o lokaciji, kao što su grad ili točna lokacija. Povijest lokacija tweetova uvijek možete izbrisati. Saznajte više

    Vaši popisi

    Izradi novi popis


    Manje od 100 znakova, neobavezno

    Privatnost

    Kopiraj vezu u tweet

    Ugradi ovaj Tweet

    Embed this Video

    Dodajte ovaj Tweet na svoje web-mjesto kopiranjem koda u nastavku. Saznajte više

    Dodajte ovaj videozapis na svoje web-mjesto kopiranjem koda u nastavku. Saznajte više

    Hm, došlo je do problema prilikom povezivanja s poslužiteljem.

    Integracijom Twitterova sadržaja u svoje web-mjesto ili aplikaciju prihvaćate Twitterov Ugovor za programere i Pravila za programere.

    Pregled

    Razlog prikaza oglasa

    Prijavi se na Twitter

    · Zaboravili ste lozinku?
    Nemate račun? Registrirajte se »

    Prijavite se na Twitter

    Niste na Twitteru? Registrirajte se, uključite se u stvari koje vas zanimaju, i dobivajte promjene čim se dogode.

    Registrirajte se
    Imate račun? Prijava »

    Dvosmjerni (slanje i primanje) kratki kodovi:

    Država Kod Samo za korisnike
    Sjedinjene Američke Države 40404 (bilo koje)
    Kanada 21212 (bilo koje)
    Ujedinjeno Kraljevstvo 86444 Vodafone, Orange, 3, O2
    Brazil 40404 Nextel, TIM
    Haiti 40404 Digicel, Voila
    Irska 51210 Vodafone, O2
    Indija 53000 Bharti Airtel, Videocon, Reliance
    Indonezija 89887 AXIS, 3, Telkomsel, Indosat, XL Axiata
    Italija 4880804 Wind
    3424486444 Vodafone
    » Pogledajte SMS kratke šifre za druge zemlje

    Potvrda

     

    Dobro došli kući!

    Vremenska crta mjesto je na kojem ćete provesti najviše vremena i bez odgode dobivati novosti o svemu što vam je važno.

    Tweetovi vam ne valjaju?

    Prijeđite pokazivačem preko slike profila pa kliknite gumb Pratim da biste prestali pratiti neki račun.

    Kažite mnogo uz malo riječi

    Kada vidite Tweet koji volite, dodirnite srce – to osobi koja ga je napisala daje do znanja da vam se sviđa.

    Proširite glas

    Najbolji je način da podijelite nečiji Tweet s osobama koje vas prate prosljeđivanje. Dodirnite ikonu da biste smjesta poslali.

    Pridruži se razgovoru

    Pomoću odgovora dodajte sve što mislite o nekom tweetu. Pronađite temu koja vam je važna i uključite se.

    Saznajte najnovije vijesti

    Bez odgode pogledajte o čemu ljudi razgovaraju.

    Pratite više onoga što vam se sviđa

    Pratite više računa da biste dobivali novosti o temama do kojih vam je stalo.

    Saznajte što se događa

    Bez odgode pogledajte najnovije razgovore o bilo kojoj temi.

    Ne propustite nijedan aktualni događaj

    Bez odgode pratite kako se razvijaju događaji koje pratite.

    Esoteric Exposal‏ @EsotericExposal 3. velj
    • Prijavi Tweet

    Celebrity culture is systematically used to condition the masses using various social engineering and mind control techniques.

    17:45 - 2. velj 2020.
    • 68 proslijeđenih tweetova
    • 175 oznaka „sviđa mi se”
    • Roger W. Mauiri 🇺🇸 ≠ Peter ≠ Anthony Gallimore Stella Maris Kirill Artukhou Andrew Banks Miguel Stefan xurious
    6 replies 68 proslijeđenih tweetova 175 korisnika označava da im se sviđa
      1. Novi razgovor
      2. not me‏ @CharacterZero00 3. velj
        • Prijavi Tweet
        Odgovor korisniku/ci @EsotericExposal

        Most people refuse to believe this is happening. Unless a person figures it out for themselves, they won’t accept it.

        1 reply 1 proslijeđeni tweet 4 korisnika označavaju da im se sviđa
      3.  ⚖️ The Justice Team  ⚖️‏ @LawDog323 3. velj
        • Prijavi Tweet
        Odgovor korisnicima @CharacterZero00 @EsotericExposal

        Truth

        0 replies 0 proslijeđenih tweetova 1 korisnik označava da mu se sviđa
      4. Kraj razgovora
      1. ParabolicTrav‏ @parabolictrav 3. velj
        • Prijavi Tweet
        Odgovor korisnicima @EsotericExposal @Narxism

        It’s a by product of copyright law Overpaid because replication is illegal Nothing more Toppled soon

        0 replies 1 proslijeđeni tweet 3 korisnika označavaju da im se sviđa
        Hvala. Twitter će to iskoristiti za poboljšanje vaše vremenske crte. Poništi
        Poništi
      1. Novi razgovor
      2. Drew28‏ @jaylou555412 3. velj
        • Prijavi Tweet
        Odgovor korisniku/ci @EsotericExposal

        Deff aware of this, but curious to know what techniques they use

        1 reply 1 proslijeđeni tweet 0 korisnika označava da im se sviđa
      3.  ⚡ ☠ Javi Gonzalez  ☠ ⚡ 🎋‏ @XRP_Spain_Army 3. velj
        • Prijavi Tweet
        Odgovor korisnicima @jaylou555412 @EsotericExposal

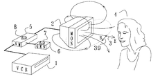
        TV itself... Nervous system manipulation by electromagnetic fields... https://patents.google.com/patent/US6506148B2/en …pic.twitter.com/Rz3X73veqc

        0 replies 0 proslijeđenih tweetova 1 korisnik označava da mu se sviđa
      4. Kraj razgovora
      1. Srodrod‏ @CRodrod12 3. velj
        • Prijavi Tweet
        Odgovor korisniku/ci @EsotericExposal

        You mean the Superbowl half time show? Distraction, distraction . Be a Zombie.

        0 replies 1 proslijeđeni tweet 0 korisnika označava da im se sviđa
        Hvala. Twitter će to iskoristiti za poboljšanje vaše vremenske crte. Poništi
        Poništi

    Čini se da učitavanje traje već neko vrijeme.

    Twitter je možda preopterećen ili ima kratkotrajnih poteškoća u radu. Pokušajte ponovno ili potražite dodatne informacije u odjeljku Status Twittera.

      Sponzorirani tweet

      false

      • © 2020 Twitter
      • O Twitteru
      • Centar za pomoć
      • Uvjeti
      • Pravila o privatnosti
      • Imprint
      • Kolačići
      • Informacije o oglasima