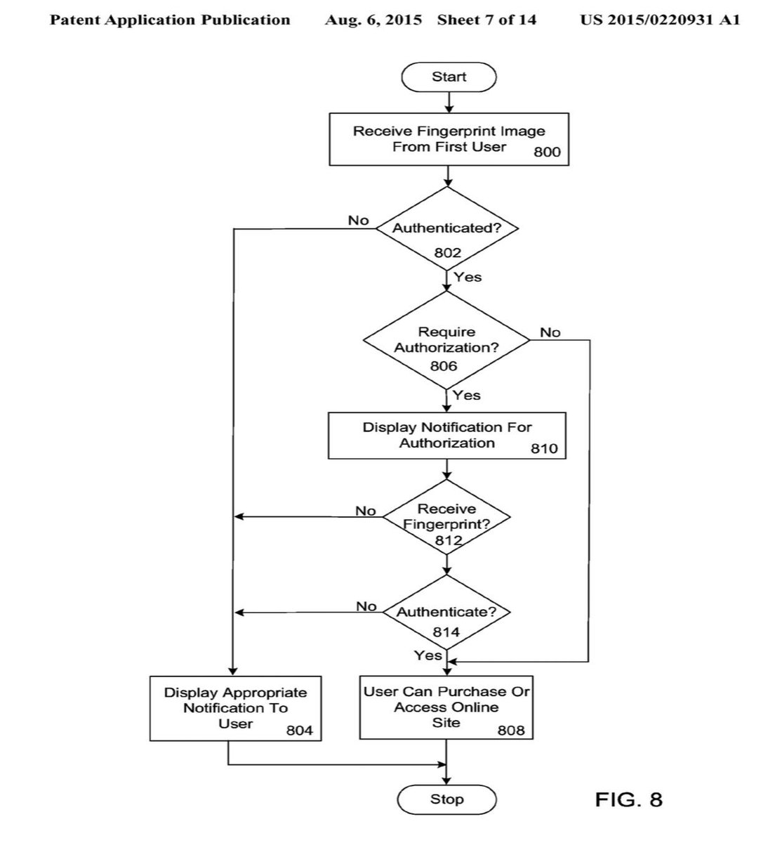
Many are stunned by my earlier Apple Patent exposes. Decoded: 2 parties one transaction. 1 party could be a company
pic.twitter.com/uNtft8ydWf
we can only see what we think is possible...
You can add location information to your Tweets, such as your city or precise location, from the web and via third-party applications. You always have the option to delete your Tweet location history. Learn more
Add this Tweet to your website by copying the code below. Learn more
Add this video to your website by copying the code below. Learn more
By embedding Twitter content in your website or app, you are agreeing to the Twitter Developer Agreement and Developer Policy.
| Country | Code | For customers of |
|---|---|---|
| United States | 40404 | (any) |
| Canada | 21212 | (any) |
| United Kingdom | 86444 | Vodafone, Orange, 3, O2 |
| Brazil | 40404 | Nextel, TIM |
| Haiti | 40404 | Digicel, Voila |
| Ireland | 51210 | Vodafone, O2 |
| India | 53000 | Bharti Airtel, Videocon, Reliance |
| Indonesia | 89887 | AXIS, 3, Telkomsel, Indosat, XL Axiata |
| Italy | 4880804 | Wind |
| 3424486444 | Vodafone | |
| » See SMS short codes for other countries | ||
This timeline is where you’ll spend most of your time, getting instant updates about what matters to you.
Hover over the profile pic and click the Following button to unfollow any account.
When you see a Tweet you love, tap the heart — it lets the person who wrote it know you shared the love.
The fastest way to share someone else’s Tweet with your followers is with a Retweet. Tap the icon to send it instantly.
Add your thoughts about any Tweet with a Reply. Find a topic you’re passionate about, and jump right in.
Get instant insight into what people are talking about now.
Follow more accounts to get instant updates about topics you care about.
See the latest conversations about any topic instantly.
Catch up instantly on the best stories happening as they unfold.
Many are stunned by my earlier Apple Patent exposes. Decoded: 2 parties one transaction. 1 party could be a company
pic.twitter.com/uNtft8ydWf
@BrianRoemmele If Apple doesn't eliminate passwords soon and Google does, I'm switching. #1 annoyance on mobile -- by far
@BrianRoemmele Hint to @tim_cook: This matters more than slightly better maps and music streaming for platform stickiness
Twitter may be over capacity or experiencing a momentary hiccup. Try again or visit Twitter Status for more information.




Re: Tim (


)